ל-SRAM פטנט לשרשרת חדשנית
חברת SRAM הגישה פטנט שמסמן מהפך אפשרי בתחום מערכות ההנעה לאופניים. לפי הדיווח בתקשורת המקצועית, החברה עובדת על פיתוח שרשרת בסגנון חוליה חלקית (half-link) - עיצוב שקיים כיום בעיקר באופני אקסטרים (BMX) עם הילוך יחיד, אך כאן היישום נעשה במערכת הילוכים מרובת מהירויות עם מעביר אחורי רגיל (דריילר).
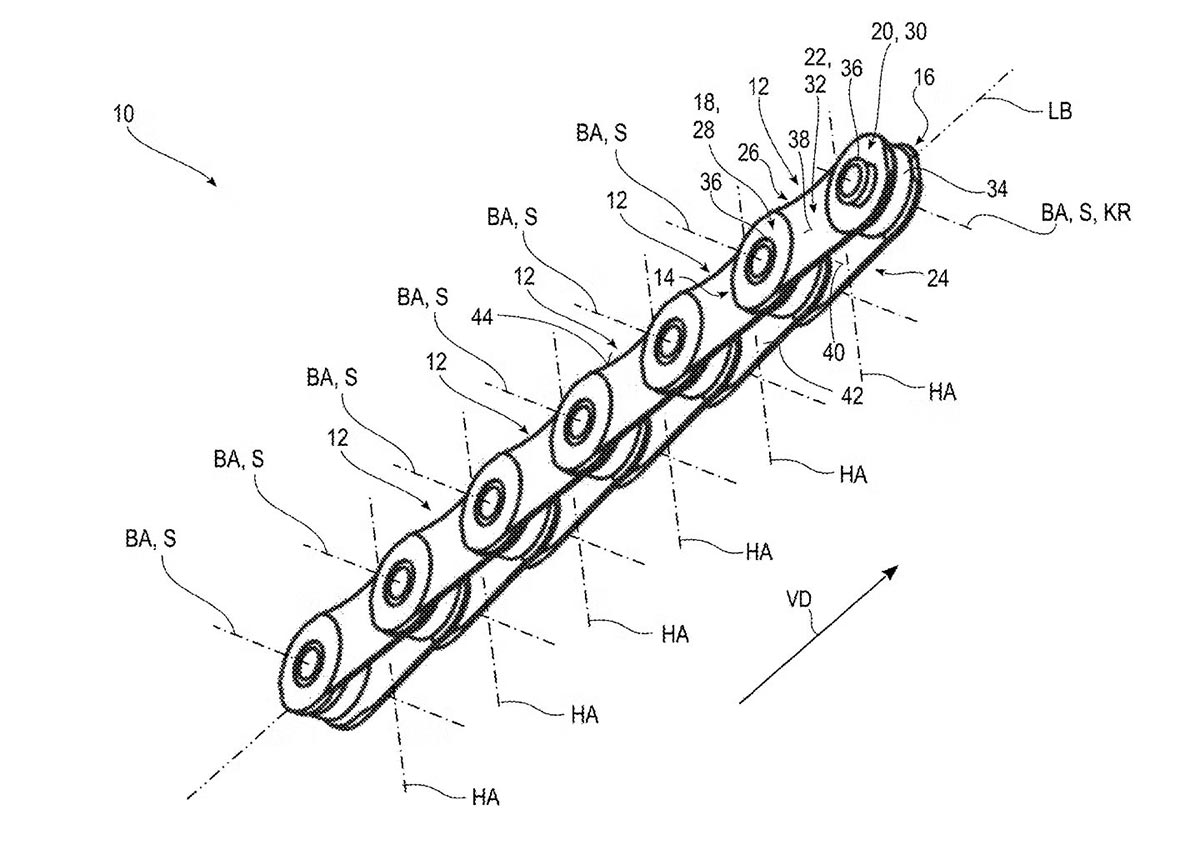
בכל השרשראות מרובות ההילוכים קיימות כיום שתי צורות של לוחות: לוחות פנימיים ולוחות חיצוניים שמתחלפים זה עם זה. בעת ההעברה לגלגל שיניים גדול יותר, רק לוח חיצוני יכול "לתפוס" את שן הקסטה וליזום העברה.
הפטנט של SRAM מציע לשנות את מבנה השרשרת כך שכל לוח זהה בצורתו יוכל לשמש הן כלוח פנימי והן כלוח חיצוני. המשמעות היא שכל לוח יהיה מסוגל ליזום את ההעברה. הדבר עשוי להכפיל את מהירות המעבר בין הילוכים.
לשיטה כזאת יש כמה יתרונות. הראשון הוא שיפור במהירות ההעברה. לשרשרת כזאת יש פוטנציאל לשינוי הילוך מהיר פי שניים, עם תגובתיות משופרת. השני הוא חוזק מבני: שרשרת עם חוליה חלקית בנויה מחוליות קצרות יותר, מה שעשוי להפחית את קלקול החומר ולפזר את העומס טוב יותר - תכונה חשובה בעיקר למשימות שטח אינטנסיביות או רכיבת דאונהיל.
שימוש בלוח יחיד עשוי להפוך את השרשרת לחסכונית יותר בייצור. היכולת להתאים את אורך השרשרת באופן עדין יותר קריטית בייחוד במערכות ללא מתיחת שרשרת אוטומטית.
לא רק לכביש, גם לשטח ולהרים
למרות שהשיפורים עשויים להיתפס כרלוונטיים בעיקר לרוכבי כביש (במיוחד למערכות שני הילוכים שנזנחו בשנים האחרונות לטובת מערכות 1x), האיור המופיע בפטנט מראה דווקא אופני הרים עם מתלה מלא. נראה כי SRAM מתכוונת ליישם את הטכנולוגיה גם בתחום השטח, ואולי במיוחד בקטגוריית דאונהיל (מרוצי הרים) שעדיין משתמשת במערכות ישנות יותר.
מערכת המתלה של SRAM, שהושקה לאחרונה, מציגה שיפור ניכר בעמידות, עם מעביר אחורי המחובר ישירות למסגרת - ללא תושבת שברירית. פטנט השרשרת עשוי להיות פתרון אידיאלי לאתגרי השבירה והמאמץ הגבוה ברכיבת דאונהיל, שבהן תקלות בשרשרת שכיחות, במיוחד בעת זינוק אגרסיבי מהרמפה.
קשה לדעת מתי ואם בכלל תגיע מערכת כזו לשוק, אך הפטנט של SRAM מדגים חשיבה מחוץ לקופסה, שמבקשת לשפר לא רק את מהירות ההעברה אלא גם את חוזק השרשרת, את התאמתה לרמות מאמץ קיצוני ואת הגמישות ההנדסית של מערכות ההנעה. אם היא תהיה מוצר בפועל, ייתכן ש־SRAM תכתיב מחדש את הסטנדרט לעולם הרכיבה המהירה הן בכביש והן בשטח.




