שימנו מתכננת מערכת 13 הילוכים
חשיפת מנגנון ההתקנה פול מאונט (Full Mount) של SRAM לדגמי מערכות מרכזיות T-Type הן במכניקה והן באלקטרוניקה, גרמה לרבים לתהות מדוע שימנו לא הציגה פתרון דומה דגמים מהסדרות החדשות שלה. ייתכן שהחברה סמכה על מערכת השחזור האוטומטי (Automatic Impact Recovery) שלה. אלא שפטנט שפורסם ב־6 בנובמבר מלמד ששימנו דווקא לא מתעלמת מסוגיית מתלי המעביר. למעשה, הפטנט כולל לא רק שני עיצובים חדשים למעתק ייחודי אלא גם התייחסות מפורשת לקסטה של 13 הילוכים, וזה כבר נושא בעל משמעות בפני עצמו.
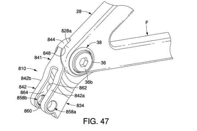
הפטנט מציג מתלה עם שתי שיניים שנראה דומה למערכת פול מאונט של SRAM, רק בצורה הפוכה. במקום שתי שיניים שמתחברות לשלדת האופניים, שתי ה"שיניים" עוטפות את תושבת המעביר ומתחברות זו לזו באמצעות רכיב הכולל הברגות נגדיות. השימוש בשני ברגים מנוגדים אמור לייצר קשיחות גבוהה יותר סביב נקודת החיבור.
ההיגיון במהלך ברור: המערכת של SRAM הציגה שיפור ממשי בקשיחות ובדיוק ההעברה בעיקר משום שמעתק אוניברסלי רגיל עלול להתעקם מפגיעה. עיצוב שתי השיניים של שימנו עשוי לשפר את העמידות ולייצב את המעביר.
למרות שהפטנט לא נוגע רק למתלה מסוג חדש אלא גם לעיצוב נוסף של מעתק, החלק המעניין מגיע דווקא ממנו: הוא מתייחס במפורש למערכת שמיועדת "למספר רב של גלגלי שיניים כגון 13 גלגלי שיניים בקסטה האחורית". נוסף על כך הפטנט מתאר מעביר הכולל "יחידת מנוע", מה שמלמד בוודאות כמעט על מערכת אלקטרונית.
המשמעות ברורה: שימנו מתכננת מערכת 13 הילוכים אלקטרונית. עדיין לא ידוע אם היא תשולב כשדרוג בסדרות מוצרים קיימים או תושק כדור חדש לחלוטין. אך עם התרחבות מערכות 13 הילוכים, המהלך נראה טבעי. בתחומי גרבל, היתרונות ברורים: טווח רחב יותר ופערים קטנים יותר בין יחסי ההעברה. עם זאת העיצוב החדש של המעביר מעורר מחשבה שגם עולם השטח יקבל עדכוני 13 הילוכים בעתיד הקרוב.
שימנו שמרה עד כה על שקט יחסי מבחינת הכרזות ותוכניות, אך הפטנט מספק הצצה ישירה לתוכניותיה: קשיחות גבוהה יותר במעבירים ושדרוג ממשי בספירת ההילוכים. הצעד עשוי לשנות את המבנה של מערכות מרכזיות של אופניים לשנים הבאות.




